各位玩家朋友们大家好!今天是2024年12月27日星期五,欢迎大家收看今天的游民晨播报,我是元素黄狗。今天的主要内容有Xbox手柄新专利曝光;《动森》为日本最畅销实体游戏……我们将在随后为你带来以上新闻的详细信息,敬请关注。

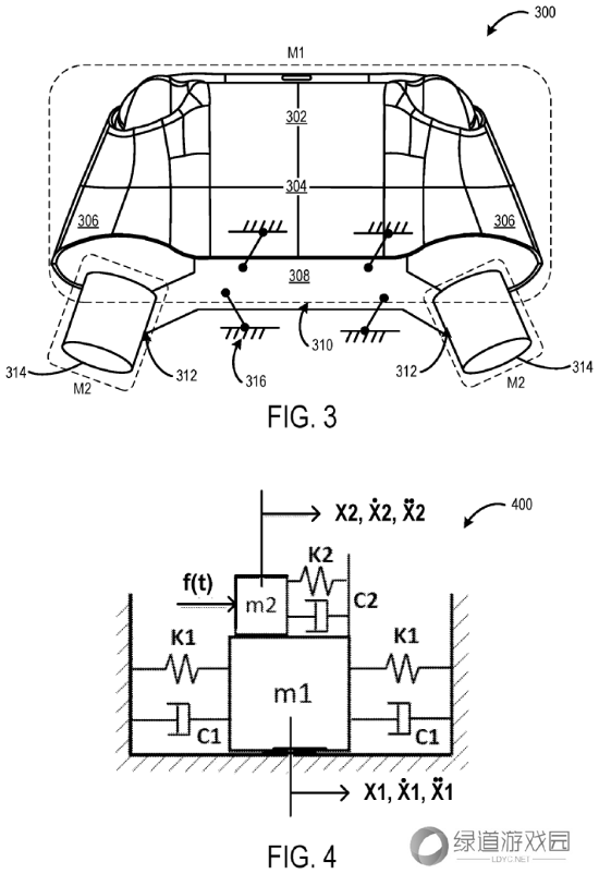
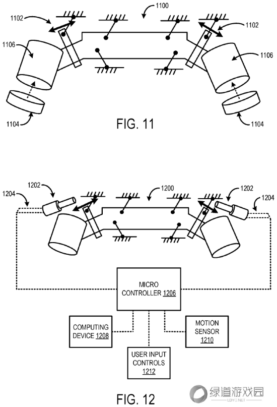
1.Xbox手柄新专利曝光
据外媒tech4gamers报道,微软最近公布了一项新专利,目标是为Xbox手柄添加高度创新且具成本效益的触觉马达。这些触觉马达可以在手柄内部移动,而不是固定在单一位置,从而产生更自然的振动效果。除此之外,玩家还可以调节触觉马达。


2.《动森》为日本最畅销实体游戏
据外媒gameinfinitus报道,任天堂的《集合啦!动物森友会》达成新里程碑,正式成为日本历史上实体版销量最高的游戏。这款2020年的游戏已售出超过800万份实体版,超越了此前由《宝可梦 红/绿》保持的793万份的记录。

任天堂尚未宣布《集合啦!动物森友会》的续作,但随着新一代Switch主机即将公布,任天堂未来或许会在新一代Switch主机上正式发售它的续作。
3.《黑道圣徒4》源代码泄露
据外媒playground报道,开发商Volition旗下游戏《黑道圣徒4》的源代码现已在网络上泄露,游戏源代码和素材文件的压缩包被上传到了4chan论坛。

从截图来看,这个压缩包的大小高达210GB,目前尚不清楚是谁将《黑道圣徒4》的源代码泄露到网上,因为Volition早在2023年就已被关闭。
持有该系列版权的公司Embracer集团目前尚未对此次泄露事件作出任何评论。
4.《光环》旧作开发工具等数据泄露
一批包含开发工具、未发布内容和开发版本的《光环》相关数据近日在网络上泄露。




这次泄露的内容大约有90GB,据悉,343 Industries曾聘请了一批MOD制作者试图恢复旧游戏的被删内容和数据,这一项目被称为“Digsite项目”。一些了解该项目的网友,包括曾参与项目的MOD作者,已确认此次泄露是真实的。
以上就是今天的晨报内容,我们会在每天的早晨,以快讯的形式为大家播报昨日深夜至今日凌晨国内外发生的重要资讯。我是元素黄狗,祝愿大家身体健康、工作顺利,我们明天再见。